Recentemente, a Sony registrou uma patente que visa adaptar a dificuldade dos jogos de acordo com as habilidades dos jogadores. Apesar de não ser algo inédito – a mecânica já foi usada em Crash e Resident Evil 4 -, a novidade possibilita que jogadores sempre enfrentem desafios à sua altura.
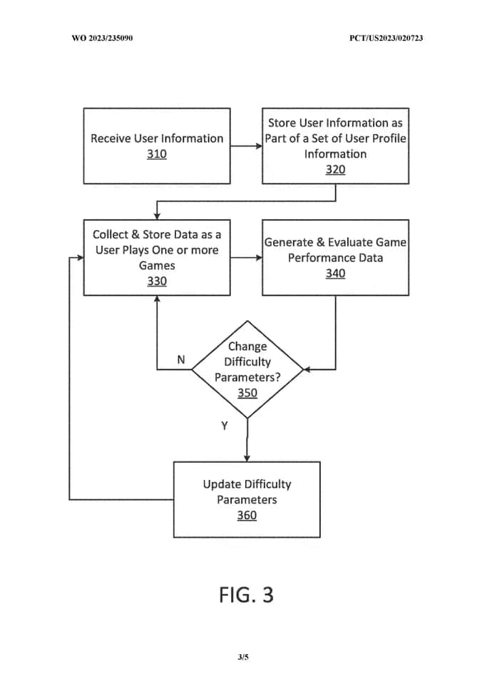
Segundo o site Insider Gaming, o nome completo da nova tecnologia da Sony é “Adaptive Difficulty Calibration For Skills-Based Activities In Virtual Environments” e ela mede o nível de gameplay do jogador e promove adaptações necessárias para que o jogo nunca seja algo fácil e monótono. Segundo a imagem que faz parte do registro da patente, o sistema funcionaria da seguinte forma:
- Console recebe informações dos padrões do usuário
- Padrões são armazenados como parte das informações do perfil do jogador
- Dados são coletados conforme o usuário joga um ou mais games
- Dados são avaliados para determinar a performance do usuário
- Caso seja necessário, o jogo adaptaria a dificuldade automaticamente e voltaria ao passo 3, formando um ciclo vicioso de aprimoramento

Caso a implementação da tecnologia criada pela Sony se mostrasse um sucesso, poderíamos avançar para um momento dos games em que jogadores não precisam selecionar um nível de dificuldade, já que seu próprio perfil da PlayStation teria informações para que os jogos adaptassem para entregar um bom desafio graças aos algoritmos dinâmicos.

Sony não parou por aí
Além disso, a documentação registrada pela Sony traz referências a diversas outras mecânicas em que esta tecnologia teria impacto, estando entre elas a força do personagem do jogador, a taxa de spawn e habilidades dos adversários e até mesmo a velocidade de movimento.
É possível que apenas jogos da PlayStation Studios, subsidiária da Sony, chegassem aos consoles com estas opções, visto que é uma tecnologia proprietária. Porém, ainda não é confirmado que a novidade está a caminho dos jogos, podendo ser apenas uma patente para proteger a ideia.
Leia também:




